行业知识

  • 汽包电容液位计故障

    电容式液位计是基于电容感应原理的液位计,将液位变化转换成电容量,再转换成标准电流信号,远传至操作控制室供二次仪表或计算机装置进行集中显示、报警或自动控制。电容式液位计具有结构简单、维护量少、多种信号输出、安全可靠等诸多优点,不过它也存在不能实施全工况测量、测量时滞较长等缺点。

    2024-07-26 mk体育在线注册,mk体育(中国)

  • 高加外置式蒸汽冷却器

    回热循环及蒸汽冷却器 回热循环被现代蒸汽动力工程所普遍采用,是在朗肯循环的基础上,对吸热过程加以改进而得到的。 在朗肯循环中,新蒸汽的热量在汽轮机中转变为功的部分只占30%左右,而其余70%左右的热量随乏汽进入凝汽器,在凝结过程中被循环水带走了。 另外,进入锅炉的给水温度是凝汽器工作压力下的饱和温度。因为凝汽器内饱和温度很低,在锅炉内将给水加热到过热蒸汽的整个过程,吸热平均温度不高,致使朗肯循环热效率也较低。为了提高工质的平均吸热温度,减少凝汽器中被冷却水所带走的热量,人们采用了利用抽汽加热给水的热力循环——回热循环。采用回热可提高平均加热温度,从而提高装置的热效率。

    2024-07-24 mk体育在线注册,mk体育(中国)

  • 浆液循环泵频繁启停的危害有哪些

    浆液循环泵是湿法脱硫吸收塔重要设备,负责为喷淋层提供源源不断的新鲜的石灰石浆液,完美、高效吸收烟气中的SO2,运行中经常遇到浆液循环泵电流及出口压力降低的现象,一般认为进口滤网有异物堵塞,人们经常采用停泵反冲法冲走滤网,来保持浆液循环泵正常出力,但有一定的危害

    2024-07-24 mk体育在线注册,mk体育(中国)

  • 电接点水位计显示面板不准

    由于水和汽的导电性能差别极大,以发电厂锅炉汽包为例,一般水阻在几十KΩ,汽阻在1MΩ以上,测量筒的作用就是将水位的高低通过电接点阻值的变化,转换为电信号送至二次仪表进行运算和逻辑判断,最后以发光二极管和数码管准确显示水位值。

    2024-07-23 mk体育在线注册,mk体育(中国)

  • 启动油和速关油的油路如何动作?【速关电磁阀】

    先了解电磁阀的结构和油路,电磁阀看懂了,整个油路的动作过程也就都明白了

    2024-07-22 mk体育在线注册,mk体育(中国)

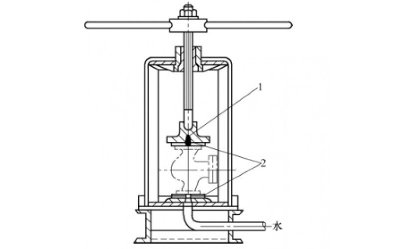
  • 阀门怎样进行强度试验和严密性试验?

    阀门的强度试验和严密性试验一般在如图1所示的阀门水压试验台上进行。

    2024-07-19 mk体育在线注册,mk体育(中国)

  • 如何理解阀门安装前的强度和严密性试验?

    阀门安装前,应作强度和严密性试验。试验应在每批(同牌号、同型号、同规格)数量中抽查10%,且不少于一个。对于安装在主干管上起切断作用的闭路阀门,应逐个作强度和严密性试验。

    2024-07-19 mk体育在线注册,mk体育(中国)

  • 110kV备自投试验方案

    一、分段自投: 1.备自投充电条件:110kV侧1#进线171开关合位,110kV侧2#进线173开关合位,110KV侧母联170开关跳位,投入分段自投,备自投投入,待备投充满电后。

    2024-07-19 mk体育在线注册,mk体育(中国)

首页
产品
新闻
联系